
Microsoft podría unirse a TCL y Samsung para crear un teléfono plegable de tres pantallas.
Microsoft no ha tenido éxito con los intentos de teléfono plegable Surface Duo, pero ya está considerando su próximo gran avance, y podría ser tan simple como agregar otra pantalla.
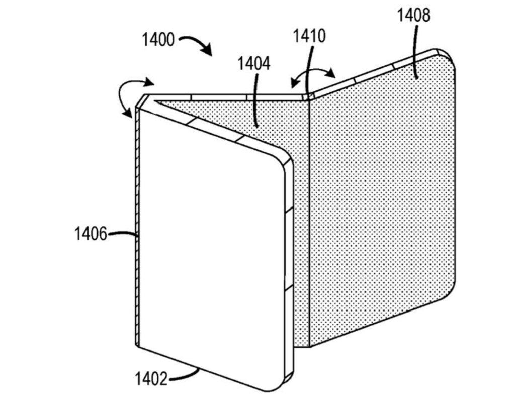
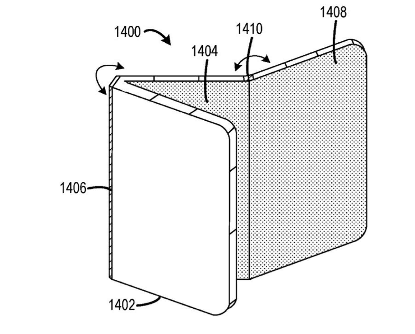
Una patente descubierta por Patently Apple sugiere que Microsoft está considerando crear un teléfono con tres pantallas y dos bisagras. Parece una billetera triple un tríptico.
El concepto es esencialmente el Surface Duo actual con un tercer panel conectado a una de las pantallas mediante una segunda bisagra. De esta manera, obtienes aún más espacio de pantalla cuando el dispositivo está completamente desplegado, pero el teléfono no sería mucho más grande que los modelos plegables actuales porque los tres paneles se apilarían uno encima del otro.



Debe estar conectado para enviar un comentario.